姚安娜再被搶注商標,搶注公司為工藝品公司
日期:2021-02-25 16:22:50
點擊:
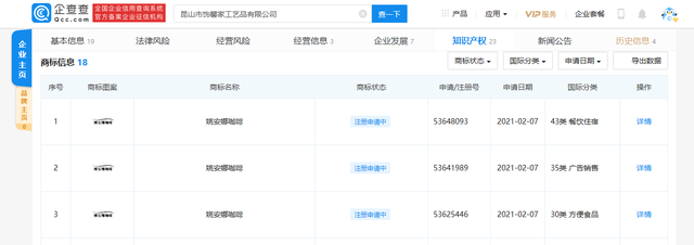
近日,昆山市飾馨家工藝品有限公司申請注冊多個“姚安娜咖啡”商標,國際分類涉廣告銷售、餐飲住宿、方便食品等,商標狀態(tài)為“注冊申請中”。企查查顯示,該公司成立于2013年6月,法定代表人為陳莉,注冊資本50萬元人民幣,與華為無商業(yè)關聯(lián)。

以上便是知春路知識產權小編整理的信息內容介紹,如果有商標注冊,版權登記,歡迎咨詢我們。
推薦閱讀:
企業(yè)該如何防止自己的商標被搶注呢
黃渤本人親自下場?遭遇商標搶注很扎心
為什么不在別人搶注之前就把自己的商標保護好?
商標被搶注,怎么判定對方是惡意的?
商標搶注如何應對?如何證明別人惡意搶注商標?
自媒體如何定義商標搶注?自媒體商標搶注的定義是怎樣的?
商標被搶注后如何應對,商標搶注后該怎么辦?
本文來源:http://m.yingyonglm.com/2021/hyxw_0225/3934.html
版權說明:上述為轉載或編者觀點,不代表知春路知識產權意見,不承當任何法律責任
下一篇:如何申請ISO9001認證?