品牌商標如果被別人搶注會有什么后果?最直接的影響就是品牌推廣受阻,嚴重的話,還會導致品牌更名,比如說日本皇后卸妝水Alovivi,就是一個活生生的例子。
日本皇后卸妝水Alovivi是東京蘆薈株式會社旗下一款明星卸妝水產品,以溫和、平價的優勢逐漸替代貝德瑪卸妝水,成為網紅產品。

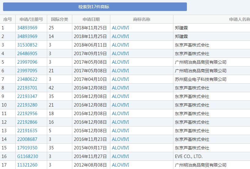
這款皇后卸妝水在日本、乃至國內都頗受歡迎,然而商標卻早已被中國商家搶注。
根據中國商標網記錄顯示,廣州明治良品商貿有限公司早在2012年8月就申請了 “ALOVIVI”商標,核準使用在化妝品等第3類商品上,并于2014年成功注冊。除此之外,該公司申請了另外兩件“ALOVIVI”商標。

而東京蘆薈株式會社最早在我國申請“ALOVIVI”商標是2015年9月,足足晚了3年。
這家廣州公司還在淘寶開設了 “ALOVIVI”旗艦店,專門銷售Alovivi卸妝水。很多人誤以為這就是官方直營店,實際上它并不是。
由于商標已經被注冊,東京蘆薈株式會社只能將產品名稱直接改成“Purevivi”,雖然它也在淘寶開設了旗艦店,但還是有人誤會。
值得一提的是,這三件被搶注的“ALOVIVI”商標不是被提出異議,就是被申請無效宣告。
李逵VS李鬼
品牌商標被搶注,很容易導致自己苦心經營的品牌為他人做嫁衣,遇到這種情況,真的很吃虧。
盡管如此,還是有很多企業在這上面栽了跟頭,不光是ALOVIVI,就連同樣來自日本的MUJI(無印良品)也不例外。
由于第24類“無印良品”商標被海南南華實業貿易公司注冊,并轉讓給北京棉田紡織品,用于旗下品牌“無印良品 Natural Mill”,后來導致真正的MUJI在中國維權失敗。

正品輸給山寨,聽起來有點可笑。但這就是品牌不注重提前保護商標所帶來的后果,別人成功注冊了,你后面要注冊,就會比較麻煩,所以搶占先機,贏在起跑線,很重要。
如今,國內商標搶注現象嚴重,無論是國產企業,還是外來品牌,想要在國內發展,就必須要保護好商標,否則就很容易被山寨,要是像ALOVIVI、MUJI這樣,被山寨搶了風頭,吃虧的是自己。
如果你還沒有為自己的品牌保護商標,那就來一品知識產權申請商標保護吧!為了讓廣大用戶更好地保護知識產權,一品知產近期推出商標注冊優惠活動:
從今日起至11月15日
商標普通注冊(單價888元),滿3免1
商標雙享注冊(一件不過,免費再申請一件)低至1111元
推薦閱讀: