“一杯好茶、一口軟歐包,在奈雪遇見兩種美好”
作為媲美喜茶的網紅茶飲,奈雪の茶以“茶+軟歐包”的創新形式吸引無數年輕人前來打卡。

截止至目前,奈雪の茶已經在華南、華中、華北等地開設超過200家直營門店,并獲得數億元A+輪融資。
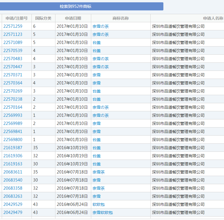
為了進行品牌保護,奈雪還申請了952件商標,囊括“奈雪”、“奈雪の茶”、“奈雪茶”、“奈雪茶 NAYUKI”……

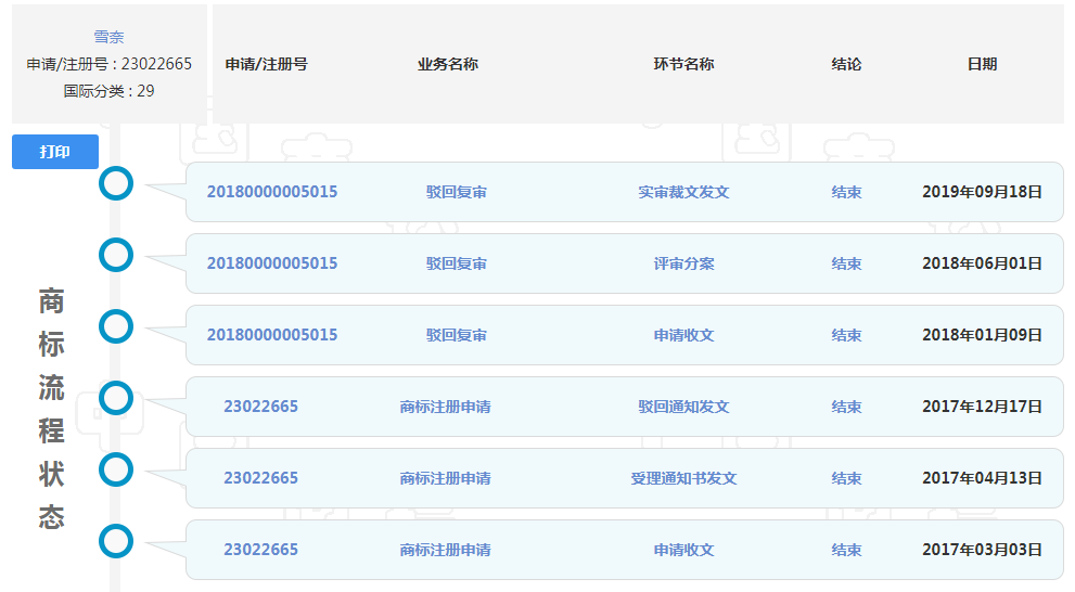
然而有一件商標,奈雪花了2年多的時間都沒有申請下來,那就是第23022665號“雪奈 XUENAI”商標。

奈雪所屬公司深圳市品道餐飲管理有限公司在2017年3月3日申請第23022665號“雪奈 XUENAI”商標,核準使用在第29類肉、干食用菌、牛奶、果凍等產品上。
該商標在2017年12月被駁回申請。2018年1月,奈雪提交商標駁回復審申請,近期結果出來了,奈雪的訴求再一次被駁回。

奈雪認為,其申請的商標與引證商標一(第12983128號“雪奈 SN”商標)、引證商標二(第17480491號“雪奈兒”商標)、引證商標三(第21150552號“奈雪DE茶”商標)、引證商標四(第21152021號“奈雪茶”)未構成近似。

引證商標一

引證商標二

引證商標三

引證商標四
該申請商標已具有突出的顯著性,且引證商標三、四處于異議當中,如果不能成功注冊,則不能成為申請商標注冊的權利障礙。
法院認為,奈雪提供的證據不足以證明申請商標在中國大陸地區經過使用已獲得顯著特征,引證商標三、四均因商標異議而不予注冊,與申請商標已不存在權利沖突。
綜上所述,奈雪的商標申請被駁回了。
推薦閱讀: